Этот пост добавлен читателем Naked Science в раздел «Сообщество». Узнайте как это сделать по ссылке.
В России запатентовали концепт «тихого» сверхзвукового пассажирского самолета
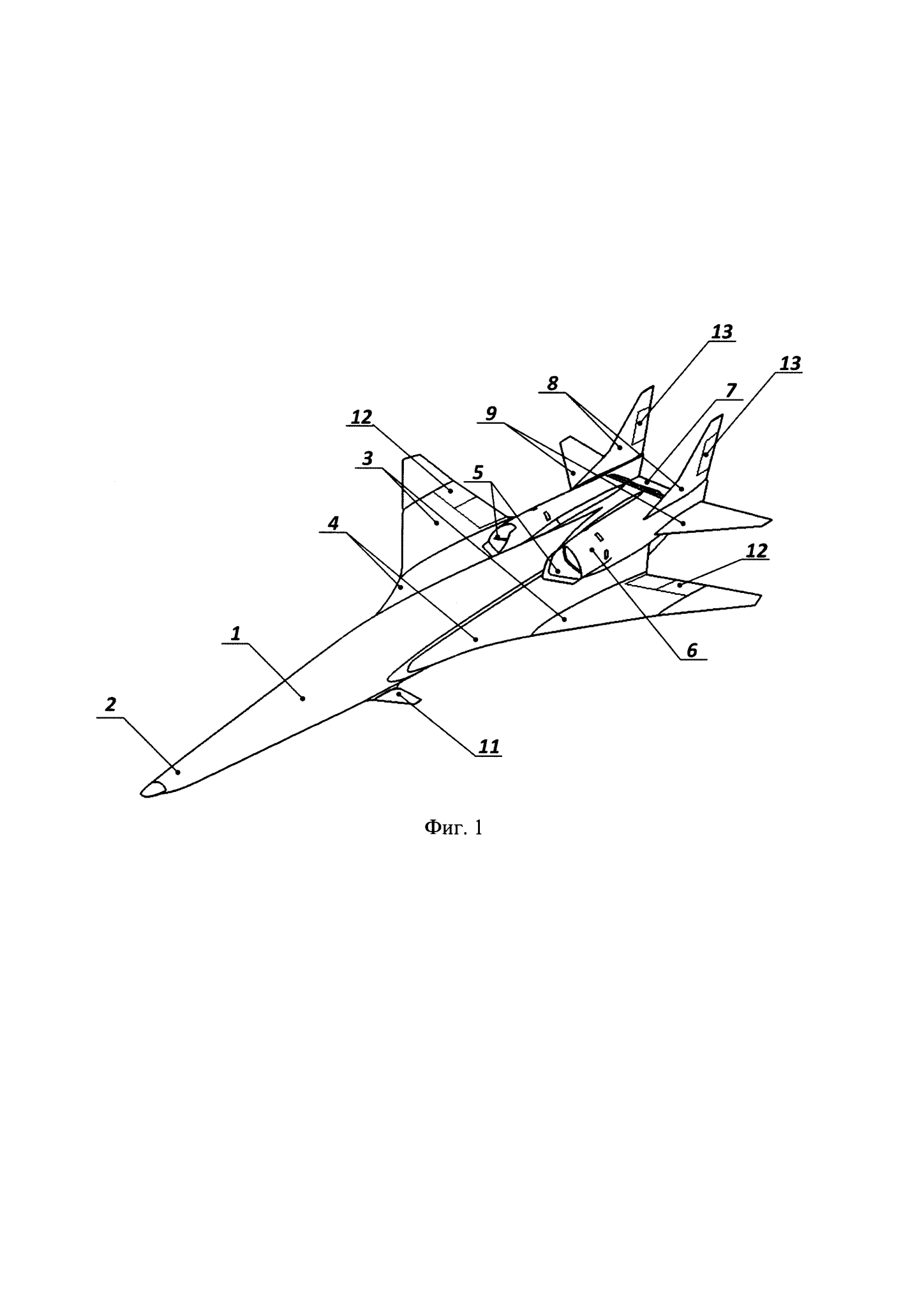
НИЦ «Институт имени Жуковского» оформил патент на концепт сверхзвукового пассажирского самолета нового поколения с пониженным уровнем шума. Проект нацелен на решение одной из главных проблем сверхзвуковой авиации — чрезмерного шума и мощного звукового удара, сопровождающих полет таких машин.

Как следует из описания, предложенная аэродинамическая схема позволит лайнеру уверенно держать крейсерскую скорость порядка 2100 километров в час, при этом уровень звукового удара планируется снизить до отметки ниже 95 децибел. Отдельный акцент сделан на уменьшении шума в зоне аэропортов — прежде всего во время взлета и посадки, что должно повысить экологическую приемлемость эксплуатации.
Разработчики подчеркнули: задача создания современного сверхзвукового пассажирского самолета по-прежнему актуальна, поскольку отрасль стремится сократить время перелетов. Однако наряду со скоростью необходимо обеспечить экономичность, дальность и соответствие строгим акустическим стандартам. Самолеты первого поколения — такие как Ту-144 и Concorde — этим требованиям уже не отвечают, а существующие альтернативные проекты также имеют свои ограничения.
В патенте приведен комплекс инженерных решений, включая особенности аэродинамики и компоновки. В частности, предусмотрены стреловидное крыло и мотогондола с расположенной в ней силовой установкой, состоящей из двух с надкрыльевыми воздухозаборниками и соплами.
В институте также отметили, что интерес к сверхзвуковым перевозкам сохраняется — прежде всего со стороны пассажиров премиального сегмента. В перспективе парк таких самолетов может насчитывать десятки единиц, что говорит о потенциальном спросе на быстрые и комфортные перелеты нового поколения.
Концепт нового российского патента отражает текущую в мире тенденцию на создание «тихого» сверхзвукового авиалайнера. Подобной разработкой в США сегодня занимаются компания Boom Supersonic и NASA совместно с Lockheed Martin
Ученые впервые охарактеризовали «темное» электронное состояние в светочувствительном фрагменте зеленого флуоресцентного белка. Химически изменив этот фрагмент, авторы целенаправленно «выключили» его свечение: в возникшем темном состоянии молекула не излучает свет, а накапливает энергию ультрафиолета, чтобы затем безопасно от нее избавиться. Защитный механизм запускается за рекордно короткое время — благодаря сверхбыстрой перестройке электронов и ядер молекула избегает разрушения под внешним излучением. Открытие будет полезно для разработки нового поколения солнцезащитных материалов и покрытий с программируемой фотостабильностью.
Высота космической орбиты — это не просто удаление от поверхности Земли. Она позволяет выполнять полетные задания, недоступные для других орбит. Какими бывают высокие околоземные орбиты, что они дают спутникам и как обеспечивают им необычные условия для работы, рассказываем в нашем новом материале.
В высокогорных районах Гималаев появился новый хищник. Он не боится людей, возглавляет стаи собак и все чаще заходит в деревни. Местные жители называют его «кхипшанг». Речь идет о гибриде гималайского волка и бродячей собаки. Ученые опасаются, что этот зверь изменит хрупкий баланс местной дикой природы и в скором времени станет весьма опасным для человека.
В высокогорных районах Гималаев появился новый хищник. Он не боится людей, возглавляет стаи собак и все чаще заходит в деревни. Местные жители называют его «кхипшанг». Речь идет о гибриде гималайского волка и бродячей собаки. Ученые опасаются, что этот зверь изменит хрупкий баланс местной дикой природы и в скором времени станет весьма опасным для человека.
При совпадении нескольких условий наши глаза способны улавливать излучение в ближнем инфракрасном спектре. Тогда сетчатка начинает работать как нелинейный фотодетектор.
Во всем мире во всех человеческих культурах около 90% людей пользуются преимущественно правой рукой. Такое поразительное единство практически всего человечества не имеет аналогов среди приматов и до сих пор остается эволюционной загадкой. Ученые проанализировали данные о более чем двух тысячах человекообразных обезьянах и выяснили, когда и почему праворукость стала популяционной тенденцией.
В последнее время пуски с российских северных космодромов осуществляют без предварительного уведомления, чего не было в прошлом. Вероятно, дело в недавно упомянутых главой «Роскосмоса» атаках на Плесецк во время пуска. Сегодняшний запуск обеспечил вывод на орбиту космических аппаратов военного назначения.
В высокогорных районах Гималаев появился новый хищник. Он не боится людей, возглавляет стаи собак и все чаще заходит в деревни. Местные жители называют его «кхипшанг». Речь идет о гибриде гималайского волка и бродячей собаки. Ученые опасаются, что этот зверь изменит хрупкий баланс местной дикой природы и в скором времени станет весьма опасным для человека.
Химические связи в материале, из которого сделана электроника, разрываются не из-за накопительного износа от протекания тока через них, а из-за электронов с конкретной энергией.
Вы попытались написать запрещенную фразу или вас забанили за частые нарушения.
Понятно
Что-то в вашем комментарии показалось подозрительным, поэтому перед публикацией он пройдет модерацию.
Понятно
Из-за нарушений правил сайта на ваш аккаунт были наложены ограничения. Если это ошибка, напишите нам.
Понятно
Наши фильтры обнаружили в ваших действиях признаки накрутки. Отдохните немного и вернитесь к нам позже.
Понятно
Мы скоро изучим заявку и свяжемся с Вами по указанной почте в случае положительного исхода. Спасибо за интерес к проекту.
Понятно
РНФ
Последние комментарии